服务热线:150 0066 6432

关于沃茈

关于沃茈

about

关于沃茈

关于沃茈

about

产品查找
免费获取报价
提交

联系我们,我们将为您提供合理的解决方案!

WOCI VALVE®

H76H/W双瓣旋启式对夹止回阀

  • 1产品型号:H76H/W
  • 2公称通径:DN50~DN1500、NPS 2”~60”
  • 3压力范围:PN1.0~10.0MPa、Class150~600Lb
  • 4工作温度:-29℃~+425℃
  • 5主体材质:碳钢、不锈钢、合金钢
  • 6设计标准:API6D、JB/T8937、API594
  • 7结构长度:API594、JB/T8937
  • 8连接标准:ASME B16.5、GB/T 9113、JB/T 79、HG/T 20592
  • 9压力试验:API 598、GB/T 13927、JB/T 9092
  • 10压力-温度等级:ASME B16.34 、GB/T12224
客户订购咨询:15000666432
详细介绍

一、沃茈阀门(上海)有限公司生产销售的H76H/W双瓣旋启式对夹止回阀特点

1、产品结构长度短、体积小、重量轻。

2、密封瓣可根据不同的工况条件选用软密封或硬密封材质, 密封性能好。

3、水平或者垂直管道均可使用,安装方便。

4、阀瓣关闭快速,水锤压力小。

5、零件材质及阀门端面形式、尺寸可根据实际工况或和用户 要求合理选配,满足各种工程需要。


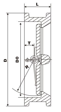
二、H76H/W对夹连接双瓣旋启式止回阀主要外形尺寸

压力口径尺寸(mm)重量(kg)

配管法兰(供参考)

npsdnldd 3d 2螺栓孔中
心圆直径 d 1
螺栓数量螺栓直径d螺栓长度 l 1
inmmrfrj
class 150
pn2.0mpa
2506010356512120.545/8m16140155
2 1 /2656712273653139.545/8m16150165
3807313588804152.545/8m16160175
4100731731081026190.585/8m16170185
5125861951321278216.083/4m20190205
61509822016015213241.583/4m20205220
820012727721020325298.583/4m20240255
1025014633726625439362.0127/8m24270285
1230018140731030554432.0127/8m24310325
1435018444835535080476.0121m27325340
16400191512405400117540.0161m27340355
18450203547455450138578.01611/8m30365380
20500219604505500163635.02011/8m30385400
24600222715605600331749.52011/4m33405420
28700305773700700380795.5403/4m20455-
30750305824750746425846.0443/4m20455-
32800305878800796560900.0483/4m20460-
369003689839108986401009.5447/8m24540-
4210504321142105510509601171.5481m27625-
48120052413021205120014001335.04411/8m30740-
class 300
pn5.0mpa
2506011058513127.085/8m16155175
2 1 /2656712873654149.083/4m20175195
3807314788806168.583/4m20190210
4100731791081028200.083/4m20195215
51258621413212715235.083/4m20215235
61509824916015218270.0123/4m20230250
820012730521020331330.0127/8m24280300
1025014635926625451387.5161m27315335
1230018142031030577451.01611/8m30365385
14350222483355350117514.52011/8m30410430
16400232537405400190571.52011/4m33435455
18450264594455450200628.52411/4m33475535
20500292652505500265686.02411/4m33510585
24600318772608600410813.02411/2m39560-
30750368882740735660921.03613/8m36650-
36900483104488087310201089.03215/8m42800-
42105056811961045103515401244.53613/4m45920-
48120062913651190117922601416.04017/8m481010-
0.109406