服务热线:150 0066 6432
一、H42N立式液化气止回阀产品概述
沃茈阀门(上海)有限公司生产销售的H42N不锈钢立式止回阀正常处于关闭状态,由于管线中进口端介质的压力作用,而克服弹簧阻力使阀门开启。当进口端介质压力低于出口端时,弹簧将阀芯推向阀座而使阀门关闭,阻止介质逆流,故起止回作用。本阀门由于采用弹簧支撑阀芯,故采用立式安装或卧式装均可。
二、H42N立式液化气止回阀主要零件材料:
| 零 件 名 称 | 材 料 |
| 阀 体 阀 盖 | 碳素钢 wcb |
| 阀 瓣 | 25# 密 封 面 尼 龙 1010 |
| 中法兰螺栓 | 35crmoa |
| 中法兰螺母 | 35# |
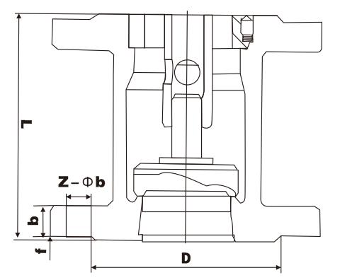
三、H42N立式液化气止回阀主要外形尺寸和连接尺寸

| dn | l | d | d1 | d2 | b | f | z-d |
| 50 | 140 | 160 | 125 | 100 | 20 | 3 | 4-*18 |
| 65 | 160 | 180 | 145 | 120 | 22 | 3 | 8-*18 |
| 80 | 185 | 195 | 160 | 135 | 22 | 3 | 8-*18 |
| 100 | 210 | 135 | 190 | 160 | 24 | 3 | 8-*23 |
| 125 | 250 | 270 | 220 | 188 | 28 | 3 | 8-*25 |
| 150 | 300 | 300 | 250 | 218 | 30 | 3 | 8-*25 |
| 200 | 380 | 375 | 310 | 278 | 34 | 3 | 12-*25 |