服务热线:150 0066 6432
一、H42W不锈钢立式止回阀产品概述
沃茈阀门(上海)有限公司生产销售的H42W不锈钢立式止回阀正常处于关闭状态,由于管线中进口端介质的压力作用,而克服弹簧阻力使阀门开启。当进口端介质压力低于出口端时,弹簧将阀芯推向阀座而使阀门关闭,阻止介质逆流,故起止回作用。本阀门由于采用弹簧支撑阀芯,故采用立式安装或卧式装均可。
二、H42W不锈钢立式止回阀材料表
| 型号 | pn | 工作压力/mpa | 适用温度/℃ | 适用介质 | 材料 | ||
| 阀体、阀瓣 | 导向阀 | 密封面 | |||||
| h42w-16p | 16 | 1.6 | ≤200 | 腐蚀性介质 | 铬镍钛不锈钢 | 铬镍钛不锈钢 | 铬镍钛不锈钢 |
| h42w-25r | 25 | 2.5 | 弱腐蚀介质 | 铬镍钼钛不锈钢 | 铬镍钼钛不锈钢 | 铬镍钼钛不锈钢 | |
三、H42W不锈钢立式止回阀性能规范
| 技术参数 | 压力等级 | ||||||||||
| 16 | 20 | 25 | 32 | 35 | 40 | 45 | 50 | 60 | 70 | ||
| 工作压力(mpa) | ≤16 | ≤20 | ≤25 | ≤32 | ≤35 | ≤40 | ≤45 | ≤50 | ≤60 | ≤70 | |
| 试验压力(m) | 强度 | 24 | 30 | 37.5 | 48 | 52.5 | 60 | 67.5 | 75 | 90 | 105 |
| 密封 | 17.6 | 22 | 27.5 | 35.2 | 38.5 | 44 | 49.5 | 55 | 66 | 77 | |
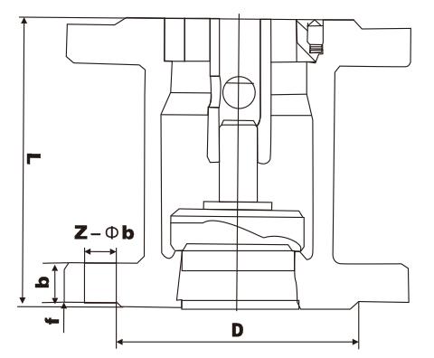
四、H42W不锈钢立式止回阀主要外形尺寸1.6mpa

| 型号 | 公称通径dn | 主要连接尺寸尺寸 | |||||||||
| l | d | d 1 | d 2 | d 6 | b | f | f 1 | z-φd | h | ||
| h42w-16ph42w-16r | 40 | 200 | 145 | 110 | 85 | - | 16 | 2 | - | 4-18 | 95 |
| 50 | 230 | 160 | 125 | 100 | - | 16 | 2 | - | 4-18 | 105 | |
| 65 | 290 | 180 | 140 | 120 | - | 18 | 2 | - | 4-18 | 120 | |
| 80 | 310 | 195 | 165 | 135 | - | 20 | 3 | - | 8-18 | 130 | |
| 100 | 350 | 215 | 180 | 155 | - | 20 | 3 | - | 8-18 | 140 | |
| 125 | 400 | 245 | 210 | 185 | - | 22 | 3 | - | 8-12 | 155 | |
| 150 | 480 | 280 | 240 | 210 | - | 24 | 3 | - | 8-23 | 180 | |
| 200 | 600 | 335 | 295 | 265 | - | 26 | 3 | - | 12-23 | 215 | |
2.5mpa
| 型号 | 公称通径 dn(mm) | 尺寸(mm) | ||||||||
| l 1 | l 2 | l 3 | d | d1 | d2 | b | f | z-φ | ||
| h42w-25ph42w-25r | 15 | - | 85 | 85 | 95 | 65 | 45 | 16 | - | 4-φ14 |
| 20 | - | 95 | 95 | 105 | 75 | 55 | 16 | - | 4-φ14 | |
| 25 | - | 100 | 105 | 115 | 85 | 65 | 16 | - | 4-φ14 | |
| 32 | - | 105 | 150 | 135 | 100 | 78 | 16 | - | 4-φ14 | |
| 40 | - | 115 | 160 | 145 | 110 | 88 | 18 | - | 4-φ14 | |
| 50 | 140 | 125 | 170 | 160 | 125 | 100 | 20 | 3 | 4-φ14 | |
| 65 | 160 | 145 | 180 | 180 | 145 | 120 | 22 | 3 | 8-φ18 | |
| 80 | 185 | 155 | 200 | 195 | 160 | 135 | 22 | 3 | 8-φ18 | |
| 100 | 210 | 210 | 210 | 230 | 190 | 160 | 24 | 3 | 8-φ23 | |
| 125 | - | 275 | 275 | 275 | 220 | 188 | 28 | 3 | 8-φ25 | |
| 150 | 300 | 225 | 300 | 300 | 250 | 218 | 30 | 3 | 8-φ25 | |
| 200 | 380 | 380 | 380 | 360 | 310 | 278 | 34 | 3 | 12-φ25 | |