服务热线:150 0066 6432
一、Z41F46衬氟闸阀产品用途
沃茈阀门(上海)有限公司生产销售的Z41F46衬氟闸阀专用于控制强腐蚀性介质,阀体内腔表面覆有可供选择的各种氟塑料,适用于不同工作温度和流体管路,具有强度高、耐腐蚀性能好的特点。
二、Z41F46衬氟闸阀测试
衬里层:电火花检测
实验与检验按gb/t13927标准
公称压力:pn阀体:pn×1.5 密封:pn×1.1
三、Z41F46衬氟闸阀主要零件材料
阀体:铸铁、碳钢、不锈钢、低碳不锈钢 阀盖:铸铁、碳钢、不锈钢、低碳不锈钢
衬里:氟塑料 阀板:碳钢完全包覆氟塑料 支架:碳钢
阀杆:2cr13 1cr18ni9,部分包覆氟塑料 手轮:铸铁、碳钢
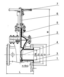
部件列表
1、阀体2、阀盖3、阀体衬里4、闸板5、阀杆6、支架7、手轮
注:表中l值dn≤32按jb97 pn4.0mpa.dn≥40按gb12221长系列。

四、Z41F46衬氟闸阀主要外形尺寸
| 公称通径 | l | d | d1 | ||||||||||
dn | nps | 0.6 | 1.0 | 1.6 | 2.5 | 0.6 | 1.0 | 1.6 | 2.5 | 0.6 | 1.0 | 1.6 | 2.5 |
15 | 1/2 | 130 | 130 | 130 | 130 | 80 | 95 | 95 | 95 | 55 | 65 | 65 | 65 |
20 | 3/4 | 150 | 150 | 150 | 150 | 90 | 105 | 105 | 105 | 65 | 75 | 75 | 75 |
25 | 1 | 160 | 160 | 160 | 160 | 100 | 115 | 115 | 115 | 75 | 85 | 85 | 85 |
32 | 11/4 | 180 | 180 | 180 | 180 | 120 | 135 | 135 | 135 | 90 | 100 | 100 | 100 |
40 | 11/2 | 240 | 240 | 240 | 240 | 130 | 145 | 145 | 145 | 100 | 110 | 110 | 110 |
50 | 2 | 250 | 250 | 250 | 250 | 140 | 160 | 160 | 160 | 110 | 125 | 125 | 125 |
65 | 21/2 | 270 | 270 | 270 | 270 | 160 | 180 | 180 | 180 | 130 | 145 | 145 | 145 |
80 | 3 | 280 | 280 | 280 | 280 | 185 | 195 | 195 | 195 | 150 | 160 | 160 | 160 |
100 | 4 | 300 | 300 | 300 | 300 | 205 | 215 | 215 | 230 | 170 | 180 | 180 | 190 |
125 | 5 | 325 | 325 | 325 | 325 | 235 | 245 | 245 | 270 | 200 | 210 | 210 | 220 |
150 | 6 | 350 | 350 | 350 | 350 | 260 | 280 | 280 | 300 | 225 | 240 | 240 | 250 |
200 | 8 | 400 | 400 | 400 | 400 | 315 | 335 | 335 | 360 | 280 | 295 | 295 | 310 |
250 | 10 | 450 | 450 | 450 | 450 | 370 | 390 | 405 | 425 | 335 | 350 | 355 | 370 |
300 | 12 | 500 | 500 | 500 | 500 | 435 | 440 | 460 | 485 | 395 | 400 | 410 | 430 |
350 | 14 | 550 | 550 | 550 | 485 | 500 | 520 | 445 | 460 | 470 | |||
400 | 16 | 600 | 600 | 600 | 535 | 565 | 580 | 495 | 515 | 525 | |||
450 | 18 | 650 | 650 | 650 | 590 | 615 | 640 | 550 | 565 | 585 | |||
500 | 20 | 700 | 700 | 700 | 640 | 670 | 705 | 600 | 620 | 650 | |||
一、Z41F46衬氟闸阀产品介绍:
沃茈阀门(上海)有限公司生产销售的Z41F46衬氟闸阀产品是一种带见的启闭阀门,利用两侧面密封呈楔状的闸板来接通或截断管路中介质,楔式闸阀不允许微量开启在管路中作节流装置用,以免因高速流动的介质冲蚀而加快密封面的损坏。fep(f46)、pctfe(f3)衬氟闸阀适用在-20℃~150℃的各种浓度的王水、酸、盐酸、氢氟酸和各种有机酸、强酸、强氧化剂,fep衬氟阀门还适用于各种浓度的强碱有机溶剂以及其它腐蚀性气体、液体介质的管路上使用。
Z41F46衬氟闸阀采用的密封副为fep或其它材料组合,磨擦系数小,启闭力矩低;填料采用ptfe标准填料,密封性能好,维修更换方便;带有弹性的闸板,可补偿闸板密封与阀座密封面之间楔角偏差,吻合度好,密封效果理想。
二、Z41F46衬氟闸阀应用范围:
z41f3、z41f46衬氟闸阀适用在-50℃~150℃的各种浓度的王水、硫、盐酸、氢氟酸和各种有机酸、强酸、强氧化剂,fep还适用于各种浓度的强碱有机溶剂以及其它腐蚀性气体、液体介质的管路上使用。
阀体有扁体和圆体两种形状:gb国标阀门采用圆体,ansi磅级美标阀门dn≤300lb采用扁体,dn≥400lb采用圆体。
三、Z41F46衬氟闸阀结构特点:
1、阀体、阀盖的内腔和闸板、阀杆外表面等直接与介质接触的部件,全部名衬fep(f46)等氟塑料;
2、密封副为fpf(f46)/ fep(f46)或其它材料组合,摩擦系数小,启闭力矩低;
3、填料采用ptfe(f4)标准填料,密封性能好,维护更换方便;
4、带有弹性的闸板,可补偿闸板密封面与阀座密封面之间楔角偏差,吻合度好,密封效果理想;
5、介质可从两侧任意方向通过闸阀,适用于介质方向可能改变的管路上作用启闭装置。
a、产品连接件少,整体钢性好。
b、截流速度快。
c、开度限位机构方便,灵活,精确。
d、体形小巧,外形美观。
e、操作简单,省力,维修方便。
f、流体阻力小,密封面受介质的冲蚀小。
g、介质流向不爱限制,不扰流,不降低压力。
四、Z41F46衬氟闸阀主要外形尺寸

公称通径 | 尺寸 | 参考值 | |||||||||
dn(mm) | nps(inch) | l | d | d1 | d2 | f | b | z-d | do | h | 重量kg |
pn1.0mpa | |||||||||||
15 | 1/2 | 108 | 95 | 65 | 45 | 3 | 15 | 4-14 | 120 | 175 | 6 |
20 | 3/4 | 117 | 105 | 75 | 55 | 3 | 17 | 4-14 | 120 | 195 | 8 |
25 | 1 | 127 | 115 | 85 | 65 | 3 | 17 | 4-14 | 160 | 230 | 10 |
32 | 5/4 | 140 | 140 | 100 | 75 | 3 | 19 | 4-18 | 160 | 245 | 11 |
40 | 3/2 | 165 | 150 | 110 | 85 | 3 | 19 | 4-18 | 180 | 285 | 13 |
50 | 2 | 178 | 165 | 125 | 100 | 3 | 21 | 4-18 | 200 | 300 | 16 |
65 | 5/2 | 190 | 185 | 145 | 120 | 3 | 21 | 4-18 | 250 | 340 | 20 |
80 | 3 | 203 | 200 | 160 | 135 | 3 | 21 | 8-18 | 280 | 410 | 30 |
100 | 4 | 229 | 220 | 180 | 155 | 3 | 23 | 8-18 | 300 | 465 | 40 |
125 | 5 | 325 | 250 | 210 | 185 | 3 | 24 | 8-18 | 320 | 620 | 60 |
150 | 6 | 350 | 285 | 240 | 210 | 3 | 26 | 8-23 | 350 | 710 | 85 |
200 | 8 | 400 | 340 | 295 | 265 | 3 | 26 | 8-23 | 450 | 780 | 120 |
250 | 10 | 450 | 395 | 350 | 320 | 3 | 28 | 12-23 | 500 | 1000 | 175 |