服务热线:150 0066 6432
一、Z41X明杆软密封闸阀产品的概述
沃茈阀门(上海)有限公司生产销售的Z41X明杆软密封闸阀除具有弹性座封闸阀的优点之外,并可以较直观显示阀门开度,启闭迅速可靠,故常用于消防及工业系统。一 般安装于距地面较高的位置。利用闸门整体包胶产生变形补偿作用达到良好的密封效果,克服了一般闸阀密封 不良、漏水和生锈的现象。可广泛用于自来水、污水、建筑、石油、化工、食品、医 药、轻伤、电力、船舶、冶金、能源系统等流体管线上作为调节和截流装置使用。
二、Z41X明杆软密封闸阀产品的特点
1、整体包胶:闸门采用整体包胶,其良好的覆盖性能与精确的几 何尺寸,保证密封可靠,寿命。
2 、重量轻:阀体采用球铁制成,重量轻,安装方便。
3、平底阀座:底部采用与水管相同的平底式阀座设计,不产生杂 物淤积,密封更可靠。
4、耐腐蚀:内 腔采用无毒环氧树脂涂状,防止腐蚀和生锈,不但可供生饮,而且可用于污水系统。
5、三“0”密封:阀杆采用三道0型 环密封,磨擦阻力小,开关轻巧,不漏水。
三、Z41X 明杆软密封闸阀主要性能参数
压力等级 | 1.0mpa、1.6mpa、2.5mpa |
阀体耐压 | 1.5mpa、2.4mpa、3.75mpa |
密封试验 | 1.1mpa、1.76mpa、2.75mpa |
工作温度 | 0~80℃ |
适用介质 | 水 |
四、 Z41X明杆软密封闸阀主要零件材料
序号 | 名称 | 材料 | 序号 | 名称 | 材料 |
1 | 阀体 | 球墨铸铁 | 8 | 止推垫 | 锡青铜 |
2 | 闸板 | 球墨铸铁外覆epdm | 9 | 轴套 | 锡青铜 |
3 | 螺栓 | 镀锌 | 10 | 螺栓 | 镀锌 |
4 | 密封圈 | nbr | 11 | 轴盖 | 球墨铸铁 |
5 | 阀盖 | 球墨铸铁 | 12 | 防尘罩 | nbr |
6 | 阀杆 | 不锈钢 | 13 | 手轮 | 铸铁 |
7 | “o”形密封圈 | nbr | 14 | 紧固螺母 |
|
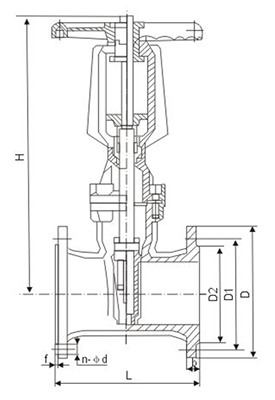
五、Z41X明杆软密封闸阀主要外形连接尺寸


dn | 50 | 65 | 80 | 100 | 125 | 150 | 200 | 250 | 300 | 350 | 400 |
l | 178 | 190 | 203 | 229 | 254 | 267 | 292 | 330 | 356 | 381 | 406 |
ha | 322 | 332 | 350 | 420 | 581 | 581 | 736 | 882 | 1009 | 1300 | 1380 |
hc | 374 | 398 | 429 | 524 | 721 | 736 | 942 | 1031 | 1117 | 1655 | 1805 |